Vysokorychlostní čelní fréza 50 mm / Z4, 45° (SEKT1204) HCB-50

Vysokorychlostní čelní fréza 50 mm / Z4, 45° (SEKT1204) HCB-50

2 271 Kč
cena s DPH
1 877 Kč
cena bez DPH
KÓD PRODUKTU HCB-50
EAN 8594696007570
VÝROBCE VERTEX MACHINERY
DOSTUPNOST Skladem

PŘÍSLUŠENSTVÍ

INFORMACE O PRODUKTU

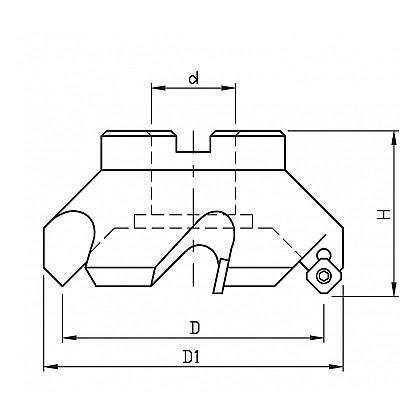
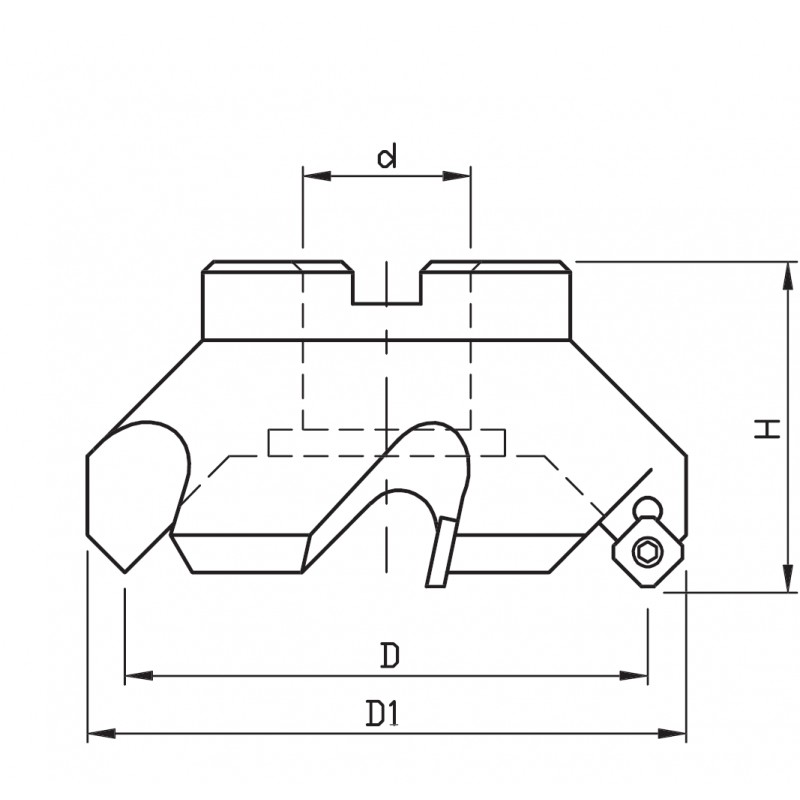
Vysokorychlostní čelní fréza na VBD:

- Čelní fréza s úhlem 45° pro vysokorychlostní obrábění
- Průměr upnutí 22 mm (s příčnou drážkou)
- Součástí je šroubovák na upevnění destiček
- Břitové destičky nejsou součástí balení
- Přesnost : 0,03 mm
- Tvrzeno HRC42

- Vhodné destičky: SEKT 1204

PARAMETRY
Vysokorychlostní čelní fréza 50 mm / Z4, 45° (SEKT1204) HCB-50
Typ hrubovací fréza
Řezný průměr 50 mm
Úhel řezu 45°
Počet VBD 4
Celková délka 45 mm
Upínací průměr 22 mm
Směr posuvu do strany
Způsob upnutí trn s příčnou drážkou
Způsob chlazení vnitřní a vnější
Hmotnost 0,53 kg